
This Application claims the benefit of the U.S. Provisional application No. 63/626,262 Filed Jan 29,2024

FIG. 1 is an exploded front elevational view switchable lightbulb of invention.

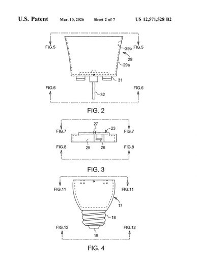
FIG. 2 is a front elevational view of a switch section portion.
FIG. 3 is an enlarged view of a switch mounting fixture.
FIG. 4 is an enlarged front elevation view of a switch of the support base assembly.

FIG 5. is a top plan view of lines 5-5 of FIG. 2 of drawings.
FIG 6. is a bottom plan view of lines 6-6 of FIG. 2 of drawings.
FIG. 7 is a top plan view of lines 7-7 of FIG. 3 of drawings.
FIG. 8 is a bottom plan view of lines 8-8 of FIG, 3 of the drawings.

FIG. 9 is an enlarged bottom plan view of control circuit board of the invention.
FIG. 10 is an enlarged partial side elevational view of the switch assembly with portions shown in broken lines.
FIG. 11 is an enlarged top plan view on lines 11-11 of FIG. 4.
FIG. 12 is an enlarged bottom plan view on lines 12-12 of FIG.4.

FIG. 13 is a front elevation view of the assembled switchable bulb of the invention.

FIG. 14 is an exploded front elevational view of an alternate of the invention.

FIG. 15 is an enlarged front elevation view of the alternate selection switch of the invention.
FIG. 16 is the bottom plan view on lines 16-16 of FIG. 15.
FIG. 17 is an enlarged front elevation view of the of the alternate selection switch component.
FIG. 18 is an enlarged top plan thereof on lines 18-18 of FIG. 17.
FIG. 19 is an enlarged perspective view of a power contact of the switch assembly.

SWITCHABLE LIGHT BULB ASSEMBLY

SWITCHABLE LIGHT BULB ASSEMBLY
2025 Copyright © McDonald's Products LLC. Twist Brite - All Rights Reserved.
We use cookies to analyze website traffic and optimize your website experience. By accepting our use of cookies, your data will be aggregated with all other user data.